当前位置:首页 > 知产资源 > 正文
一种汽车用尼龙制备挤出机
【字体:                   分享到:

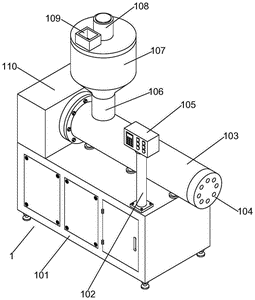
本实用新型涉及尼龙挤出机技术领域,具体为一种汽车用尼龙制备挤出机,包括挤出机主体,所述挤出机主体包括底柜,所述底柜顶部一侧固定安装有驱动箱,所述驱动箱一侧且位于底柜顶部通过支撑杆固定安装有挤出机箱,所述第一驱动电机输出端且位于挤出机箱内部连接安装有螺旋挤出杆,所述挤出机箱顶部靠近驱动箱的一侧通过进料管连接安装有进料仓,且所述进料仓内部设置有可控速控量的定量组件,通过设置定量组件,使得该汽车用尼龙制备挤出机可以方便有效的对挤出过程中尼龙材料的进入速度以及进入量进行控制,从而可以避免由于进入机箱内部的尼龙材料量过多造成堵塞,可有效避免对后续加工。

 

ynJJi_szqPXvUrORVEbwzEoMJnIdTF4w.pdf

Copyright ©2026   濮阳市知识产权公共服务平台 All Rights Reserved.