当前位置:首页 > 知产资源 > 正文
一种防结块功能的改性塑料混料仓
【字体:                   分享到:

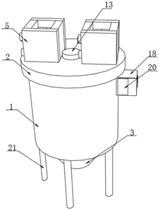
本实用新型公开了一种防结块功能的改性塑料混料仓,具体涉及塑料生产技术领域,包括混料仓,所述混料仓的顶部设置有盖体,所述盖体的顶部设置有搅拌机构,所述混料仓的底部设置有出料漏斗,所述出料漏斗的一侧设置有输送机构,所述盖体的顶部设置有定量机构,所述定量机构包括开设在盖体顶部的两个进料孔,两个所述进料孔的顶部均设置有输料框,所述输料框的一侧设置有两个第一电机,其中一个所述第一电机的一侧设置有控制器。本实用新型可以对进入混料仓内部的物料进行定量控制,还可以对混料仓内部的物料进行重合混合搅拌,防止物料在混料仓内部发生结块的现象。

FFAt9z9zIuHiDPai6mFKqTRPIi49a_DV.pdf

Copyright ©2026   濮阳市知识产权公共服务平台 All Rights Reserved.